回到主页
回到主页


Piaggio摩托车安全气囊专利图流出

· 整车资讯

Piaggio在去年11月份的米兰车展上,展示了带有安全气囊的MP3 530车型。时隔四个多月,这项计划有了全新的进展,国外媒体最近发现Piaggio最近申请了安全气囊系统的专利图。

新款 机车 摩托车  踏板摩托车 安全气囊

▲Piaggio最近向专利局申请了摩托车安全气囊系统的专利图

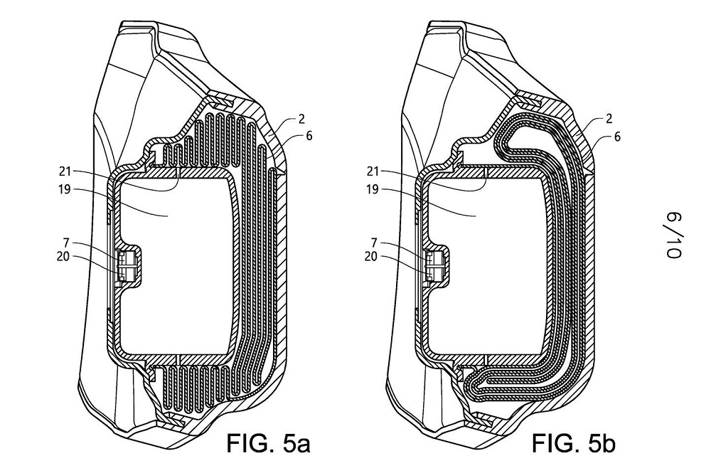
摩托车搭载安全气囊的想法并不是Piaggio第一个想到的,Honda Goldwing的现款与改款前都配有可选的安全气囊系统。从这次流出的Piaggio安全气囊系统的专利图上来看,安全气囊安装的位置在驾驶人膝盖的前方空间,覆盖安全气囊的外壳也比Honda Goldwing上的设计还要大一些,说明Piaggio的安全气囊的包覆面积会更大,提升了驾驶人的安全性。

新款 机车 摩托车  踏板摩托车 安全气囊

▲HondaGoldwing在现款与旧款车型都有选配的安全气囊系统

新款 机车 摩托车  踏板摩托车 安全气囊

▲Piaggio将安全气囊系统安装在驾驶人膝盖前方的位置,外壳的覆盖面积比Honda Goldwing设计的更大

Piaggio这套安全气囊系统和汽车使用的安全气囊系统的设计理念十分相似,整套系统中配备了一个瓦斯发生器(图中标示7号),一但车上的感应器侦测到冲击力,就会立刻为安全气囊充气,让整个安全气囊可以包裹住驾驶人的上半身和头部,减少驾驶人受到的外力冲击。由于安全气囊的体积较大,Piaggio打算将安全气囊折起来或是卷起来,尽量避免瓦斯发生器受到坚硬物体冲击而误触的情况发生。

新款 机车 摩托车  踏板摩托车 安全气囊

▲Piaggio的安全气囊系统将安装一个瓦斯发生器(图片中7号位置)

新款 机车 摩托车  踏板摩托车 安全气囊

▲安全气囊将折起来或是卷起来,避免瓦斯发生器受到外力误触

摩托车安全气囊的普及并不是容易的一件事情。Honda Goldwing和Piaggio MP3 530这两款车型凭借着较长的轴距和较低的车身,使车辆受到冲击时更容易侦测到驾驶人在骑车时的位置;这种重心比较高的仿赛车型和街车车型在发生意外时,比较容易因为外力使车辆翻覆,间接地使车辆无法掌握驾驶人的位置。看到Piaggio向专利局申请专利的消息,这也意味着摩托车安全气囊在未来几年会有很大的机会用在更多的车型之上。

 

编辑:离合




上一篇
春风电动越野摩托车的专利图流出
下一篇
Triumph正式推出 Bonneville T120 Black DGR 限量版车型
 回到主页
Cookie的使用
我们使用cookie来改善浏览体验、保证安全性和数据收集。一旦点击接受,就表示你接受这些用于广告和分析的cookie。你可以随时更改你的cookie设置。 了解更多
全部接受
设置
全部拒绝
Cookie设置
必要的Cookies
这些cookies支持诸如安全性、网络管理和可访问性等核心功能。这些cookies无法关闭。
分析性Cookies
这些cookies帮助我们更好地了解访问者与我们网站的互动情况,并帮助我们发现错误。
首选项Cookies
这些cookies允许网站记住你的选择,以提供更好的功能和个性化支持。
保存