回到主页
回到主页


新增自适应大灯、行车记录仪?宝马摩托车行车全新专利图流出

 

· 整车资讯

经过几十年的发展,这些安全科技配置已经渐渐地在汽车上成为了标配,特别是雷达和前置镜头的组合系统,能给车辆增加更多的安全性,比如侦测路口红绿灯、对向车辆等功能,近年来,也有越来越多摩托车领域的制造商开始在摩托车车上配备行车记录仪,BMW Motorrad近日流出行车记录仪的专利图。

新款 机车 摩托车 行车记录仪 宝马

▲如今雷达和行车记录仪已经是大多数汽车的标配

BMW Motorrad并非是第一个拥有这个想法的品牌,在今年川崎于北美市场发布的H2 SX,就已经率先搭载了行车记录仪等配置,主要利用行车记录仪的传感器评估前方车辆、路灯等灯光的亮度AHB会根据亮度自动打开或关闭远光灯,要使此功能发挥作用,大灯开关必须设置为远光灯,而且需要高于20km/h的速度行驶,对于夜间及长途行驶带来很大保障。

新款 机车 摩托车 行车记录仪 宝马

▲自适应大灯是H2 SX改款中最大的一亮点

BMW Motorrad的想法大致也与H2SX车型相同,行车记录仪为驾驶辅助系统、ACC定速巡航、AEB辅助刹车系统,车道保持辅助系统等打下了基奠,虽然前两样功能主要依靠雷达系统来进行运作,但行车记录仪的加入,能提升系统功能的精准度与安全性,可以说是一举两得。从流出的专利图得知, BMW Motorrad这次选择将行车记录仪隐藏在后视镜或支架中,无须在车辆外观上增加其它配置,让摄录范围角度更加广阔,唯一要担心的可能是在摔倒时,比较容易损坏设备。

新款 机车 摩托车 行车记录仪 宝马

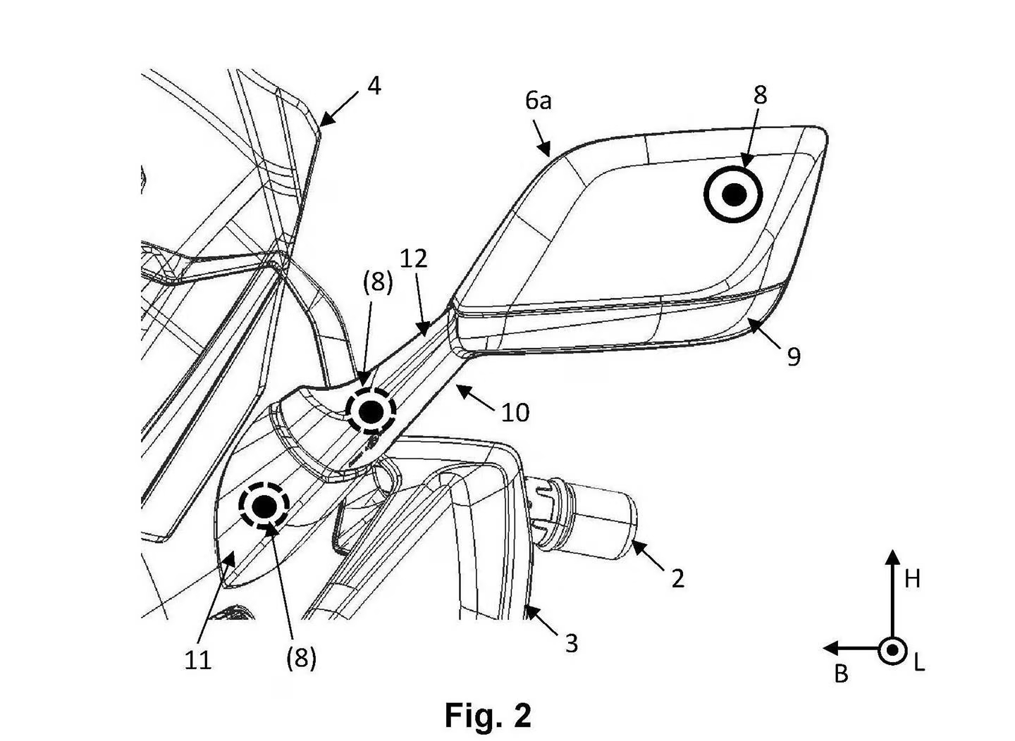
▲专利图显示了BMW Motorrad行车记录仪的安装方案

新款 机车 摩托车 行车记录仪 宝马

雷达与行车记录仪的生产成本很高,以至于多数的欧日车厂,目前仍只愿意在大排量的巡航车型上搭载,反倒是国内车厂在行车记录仪方面上普及化会更加前卫一些;如果想要雷达与行车记录仪在摩托车上成为标配,应该还需要一些时间。

 

编辑:离合



 

上一篇
雅马哈2023 YZF-R25仿赛车型进入马来西亚市场  
下一篇
本田NSR 250 R二冲程仿赛车型的发展史!
 回到主页
Cookie的使用
我们使用cookie来改善浏览体验、保证安全性和数据收集。一旦点击接受,就表示你接受这些用于广告和分析的cookie。你可以随时更改你的cookie设置。 了解更多
全部接受
设置
全部拒绝
Cookie设置
必要的Cookies
这些cookies支持诸如安全性、网络管理和可访问性等核心功能。这些cookies无法关闭。
分析性Cookies
这些cookies帮助我们更好地了解访问者与我们网站的互动情况,并帮助我们发现错误。
首选项Cookies
这些cookies允许网站记住你的选择,以提供更好的功能和个性化支持。
保存