回到主页
回到主页


川崎三轮车专利图再度流出:有别于LMW技术系统、宽度更窄的全新系统!

 

· 整车资讯

说到三轮车的发展,目前位居领先地位的日本大厂雅马哈所开发的LMW多轮平衡转向技术可以说是相当的成熟,但川崎似乎并不满足于这样的现状。川崎在2019年就已经流出过三轮车型的专利图,当时已经引起了不少的话题,近日更是提交了新的三轮车专利图,可见川崎在三轮车领域上研发的决心。

新款 机车 摩托车 三轮摩托车 川崎

▲川崎发布过的三轮电动概念车J-Concept,透露出三轮车型也在考虑范围之内

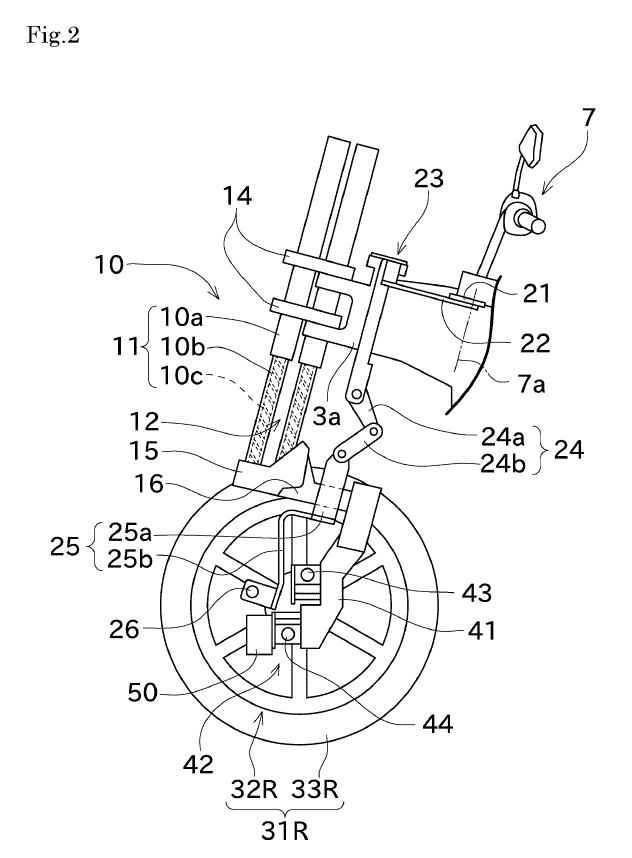
川崎这次选择了较为传统的潜望式前叉。但不同于雅马哈在Niken以及Tricity所采用的LMW多轮平衡转向技术,在前轮的两侧设置了各自的避震。川崎是由中间的三支前叉负担所有的减震,川崎此举很可能是在缩小撞风面积,同时减少了一组避震,进而减轻了重量并减少前总成的宽度。

新款 机车 摩托车 三轮摩托车 川崎

▲三轮车市场上人气度很高的雅马哈Tricity 300搭载了LMW多轮平衡转向技术

新款 机车 摩托车 三轮摩托车 川崎

▲川崎采用了潜望式前叉

另外,川崎新的三轮车专利与LMW多轮平衡转向技术也有很多的相似之处,在结构上采用了平行四边形的四连杆倾倒机制,使车辆在倾倒时前轮能维持相同的高度,保证了前轮的循迹性。两者的不同之处在于川崎将转向和倾倒等机制更多的置于簧下部分,增加了簧下质量,从而影响了车辆的操控。待实际车型推出时这个部位值得注意一下。

新款 机车 摩托车 三轮摩托车 川崎

▲新专利概念类似于LMW技术系统的平行四边形的四连杆倾倒机制。图中可看到倾倒前后的差异

新款 机车 摩托车 三轮摩托车 川崎

▲Niken将大部分的转向组件设置在簧上

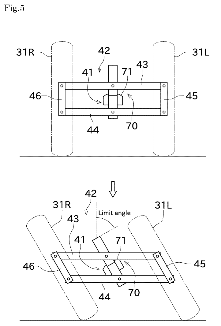
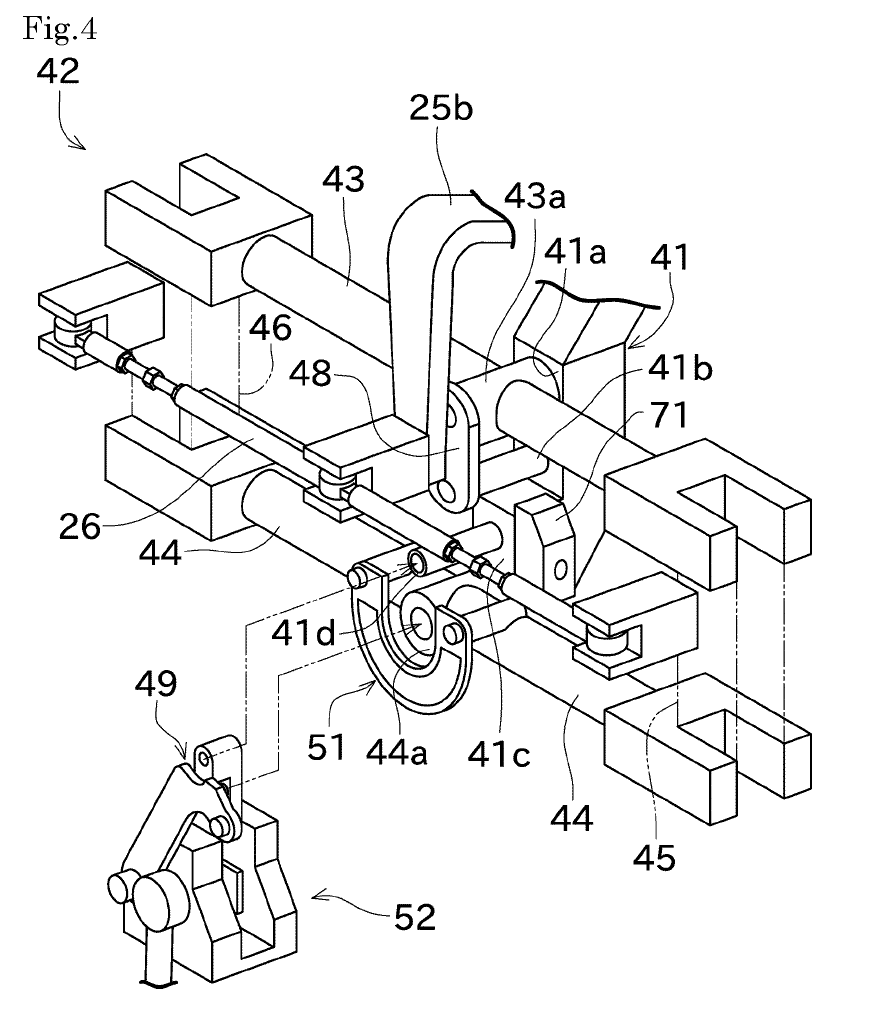
从专利的上视图可以看到,此系统有三根前叉,将会负担前轮的减震。还有锁定倾倒角度的设计,这很有可能类似于Tricity 300上的车身直立辅助系统(Standing Assist System),在骑士需要时将介入锁定倾倒系统,减轻停车或是等红灯时的负担。

新款 机车 摩托车 三轮摩托车 川崎

▲从上视图中可以看到3支前叉的配置。前总成将以(23)为中心转动

新款 机车 摩托车 三轮摩托车 川崎
新款 机车 摩托车 三轮摩托车 川崎

从侧视图中看比较接近于档车的结构,车身的中后段也未呈现太多的细节,到底会出现在哪个特定车型上还很难说,但以雅马哈同时将LMW系统应用在档车Niken和踏板车Tricity车型上的状况而言,这样的前轮转向机制应该都能对应很多种车型,若是川崎将与米兰车展上释出的新能源概念车相结合,相信推出的新车型也会十分的新颖。

 

编辑:离合



 

上一篇
三阳SYM发布2023款Fiddle LT/125/DX
下一篇
质感拉满!雅马哈发布AUGUR曙光白旗舰版踏板车
 回到主页
Cookie的使用
我们使用cookie来改善浏览体验、保证安全性和数据收集。一旦点击接受,就表示你接受这些用于广告和分析的cookie。你可以随时更改你的cookie设置。 了解更多
全部接受
设置
全部拒绝
Cookie设置
必要的Cookies
这些cookies支持诸如安全性、网络管理和可访问性等核心功能。这些cookies无法关闭。
分析性Cookies
这些cookies帮助我们更好地了解访问者与我们网站的互动情况,并帮助我们发现错误。
首选项Cookies
这些cookies允许网站记住你的选择,以提供更好的功能和个性化支持。
保存